Řešení nadpraží otvorů velkých rozpětí s překlady Porotherm KP XL
Mezi znaky současné architektury rodinných domů můžeme bezesporu počítat prostorné a vzdušné řešení interiéru i jednoduchý vzhled domu. To jde ruku v ruce s návrhem rozsáhlých prosklených otvorů a volných prostor v interiéru. Takový návrh sebou ale přináší komplikace po stránce konstrukční. Stále častěji se tak objevují požadavky na jednoduché řešení nadpraží otvorů velkých rozpětí, jako jsou prosklené stěny či vjezdy do garáží.
Obvyklé řešení je použití ocelových nosníků, které má však hned několik proti. Vedle vyšší ceny a nutnosti údržby je problémem kotvení dodatečných prvků během užívání budovy a v neposlední řadě i při samotné stavbě je manipulace možná obvykle pouze s použitím těžké techniky. Další variantou je železobetonový překlad, jehož realizace obnáší odborné vázání výztuže a celoplošné bednění. Neméně důležitá je pro takový překlad i podrobná prováděcí dokumentace, což nebývá v současnosti běžné. Proto firma Wienerberger přichází s řešením železobetonových průvlaků pro větší rozpětí i pro stavbu svépomocí, a to až do 6 metrů světlosti.
Poloprefabrikát KP Vario s prostorovou výztuží
Po zvážení běžných podmínek na stavbě bylo navrženo řešení s využitím keramobetonových dílů z překladů Porotherm KP Vario. Překlady KP Vario od 2 metrů délky jsou určeny pro otvory s předokenními roletami nebo žaluziemi a jsou složeny ze dvou základních částí. Tepelněizolační díl slouží jako tepelná izolace překladu a vytváří prostor pro instalaci rolety nebo žaluzie. Nosný keramobetonový prefabrikát s prostorovou výztuží vytváří po zmonolitnění betonem průvlak o výsledné výšce cca 0,5 metru a zajišťuje tak vysokou únosnost překladu. I momentálně nejdelší nosníky KP Vario v rozměru 3,5 metru dokáží spolehlivě přenést zatížení od stropní konstrukce s rozpětím přes 6 metrů. Prostorová výztuž překladů umožňuje realizaci téměř klasického železobetonového překladu při zachování jednoduchosti montáže bez potřeby odborné znalosti a náročné techniky. Kombinací různých délek nosníků lze dosáhnout světlého rozpětí otvorů až 6 metrů.
Překlad Porotherm KP XL
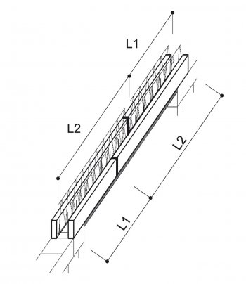
Filozofie výsledného překladu Porotherm KP XL spočívá v použití poloprefabrikátu KP Vario jako nosného prvku současně s funkcí bočního bednění. V nadpraží otvorů se světlostí nad 3 metry jsou podle potřebné délky běžně umístěny čtyři překlady (prvek 1 ve schématu obr. 3). Pro otvory se světlostí nad 5,5 metru je pak dodáváno 6 prefabrikátů.
Keramobetonové překlady se po uložení na podpory doplní jednoduchou vázanou výztuží. Betonářská výztuž je součástí dodávky překladu KP XL a obsahuje pruty hlavní tahové výztuže (prvek 2 ve schématu obr. 3), nastříhanou výztuž na třmínky (prvek 3) a montážní vzpěry (prvek 4). Podle celkové délky překladu Porotherm KP XL jsou následně určeny délky a počty prvků doplňkové výztuže, které jsou přesně podle potřeby připravovány již ve výrobním závodě.
Jak je zřejmé z obrazové dokumentace, dodávka vždy obsahuje různé délky poloprefabrikátů, kdy jejich vhodnou kombinací (obr. 4) dosáhneme ideálního rozložení výztuže. Dva delší nosníky jsou uloženy na protilehlých podporách a jejich volné konce se tak překrývají. Uprostřed rozpětí tak výztuž vykrývá maximální ohybový moment a je ideálně asymetricky ukotvena. Samotná prostorová výztuž překladů ale nedokáže vynést zatížení, na které jsou překlady obecně navrženy. (Minimálně na 20 kN/m stálého a 4,5 kN/m užitného v charakteristických hodnotách, tj. na 27 kN/m stálého a 6,75 kN/m užitného v návrhových hodnotách). Proto je překlad Porotherm KP XL doplněn o hlavní výztuž odpovídající celkové délce prvku (obr. 5), která je kladena na třmínky vázané na prostorovou výztuž prefabrikátů (obr. 6).
Pro délku nosníku do 5,5 metru je minimální šířka překladu 300 mm, pro větší rozpětí pak 400 mm. Výše zmíněná výška překladu je po zmonolitnění betonem 0,5 metru.
